关于绿能
服务热线
0577-57157777

|
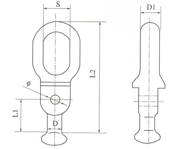
型号 Catalog No. |
适用绝缘子 Suitable Insulator |
主要尺寸Dimensions(mm) |
标称破坏载荷 Rated Failing load (kN) |
重量 Weight (kg) |
|||||
| L1 | L2 | S | D | D1 | Φ | ||||
| Q-7M | XP-7 | 60 | 130 | 18 | 16 | 16 | 14 | 70 | 1.0 |
| Q-12M | XP-12 | 70 | 145 | 22 | 18 | 18 | 14 | 120 | 1.3 |
热镀锌钢制件。









